DT12-B65M100DCFH41

DT12-B65M100DCFH41
DT12-B65M100DCFH41

直線運動單元, 無桿執行器, Load Master, LM80 - Loadmaster, 滾珠絲桿 Drive, 12 直流電壓伏特, "D" Motor Position, with enclosure, IP44, Vertical mounting with motor down, With spline safety function, manual override, 2000 N Capacity


  • 剛性自支撐擠壓鋁型材
  • 經久耐用且無腐蝕
  • 重量輕和安靜運行
  • 方便快速的T型槽安裝
  • 免維護
  • LM80無桿執行器

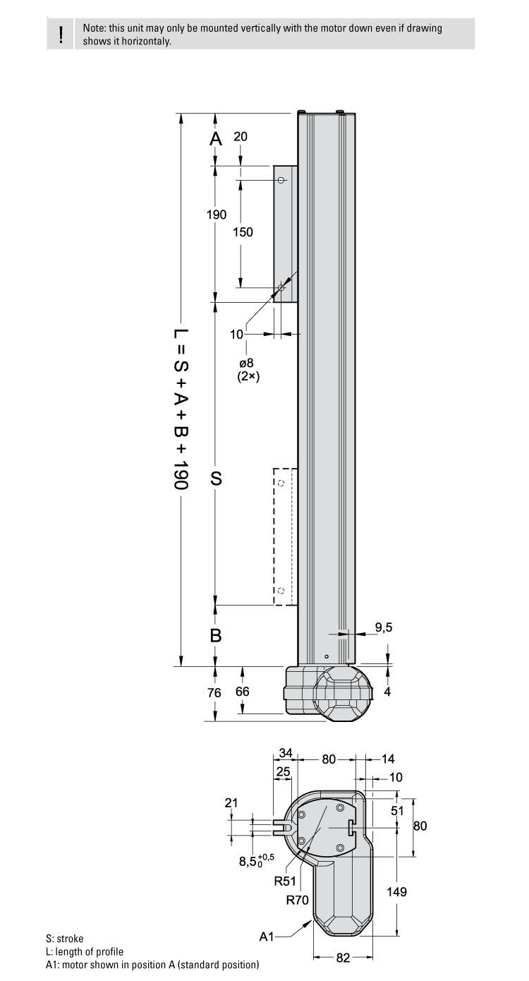
Dimensions

dimensions
尺寸價值
[A]53 毫米
[M]750 Nm
[S]1000 毫米

Specifications

Specifications價值
Drive滾珠絲桿 
Temperature Max40 °C
Temperature Min0 °C
Weight21.1 kg
電壓12 直流電壓伏特 

Performance

Performance價值
[F]2000 N
移動速度 @ 空載28 毫米每秒
移動速度 @ 滿載19 毫米每秒

Get Quote

*Please fill out the information below so we can best assist you:

您想定期收到湯姆森電子郵件更新,包括應用故事,在線培訓的機會,新產品信息和鏈接在線設計工具。